Vistas:0 Autor:Editor del sitio Hora de publicación: 2022-05-25 Origen:Sitio
Diseño de cadena de corte de guardabarros de caucho tipo celda
Cuando el barco atraca en el muelle, la mayoría de los barcos chocarán primero con el muelle a 1/3 y 1/4 de eslora de la proa o la popa.Como equipo anti-impacto del muelle, la defensa de goma debe soportar no solo la fuerza de impacto normal perpendicular a la pared del muelle, sino también la fuerza tangencial paralela a la pared del muelle.En condiciones normales de funcionamiento, el guardabarros de goma tipo celda puede soportar la fuerza tangencial del barco.Sin embargo, cuando la deformación por cizallamiento del cilindro del guardabarros de caucho excede los requisitos especificados, la cadena de cizallamiento debe evitar la deformación por cizallamiento del cilindro del guardabarros de caucho.Por lo tanto, la cadena de corte juega un papel importante para garantizar el funcionamiento normal y el rendimiento razonable del guardabarros del tambor.
A continuación se presenta el método de diseño de la cadena de corte del guardabarros de goma del tambor.
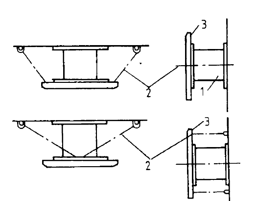
La cadena de corte generalmente se dispone a ambos lados de la defensa de goma, con un extremo fijado en la placa anti-impacto y el otro extremo fijado en la pared del muelle (Figura I).La cadena de corte generalmente adopta una cadena ordinaria, su especificación y cantidad están determinadas por la especificación del guardabarros de goma, la disposición del guardabarros de goma y el tamaño de la placa anti-impacto.

figura yo
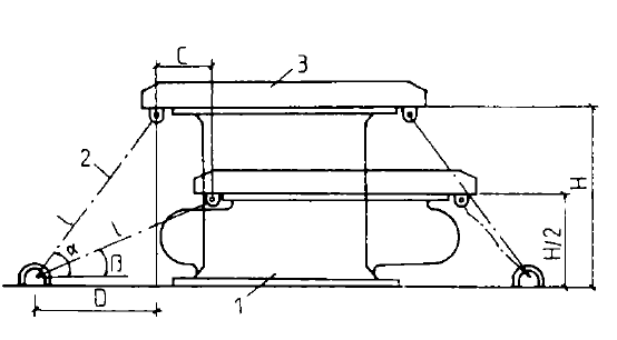
El principio de diseño de la cadena de corte es garantizar que la deformación por corte de la defensa de goma celular no supere los requisitos especificados en las condiciones de atraque más desfavorables.Se supone que la tasa de deformación de diseño del guardabarros de goma del tambor es del 50% y la deformación de corte permitida es C. Como se muestra en la Figura 2
C: Deformación de corte admisible de un guardabarros de caucho tipo tambor;
D: Proyección horizontal de la cadena de corte en la pared del muelle de la defensa de goma en condiciones de descarga;
H: altura del guardabarros de goma del tambor.
La cadena de corte del guardabarros de goma tipo celda se colocará horizontalmente a ambos lados del guardabarros de goma
La longitud l se calcula según la fórmula.Un extremo se fija en la placa anti-impacto y el otro extremo se fija en el anillo en U incrustado